В корзину
Металлоконструкции для ЛЭП
151
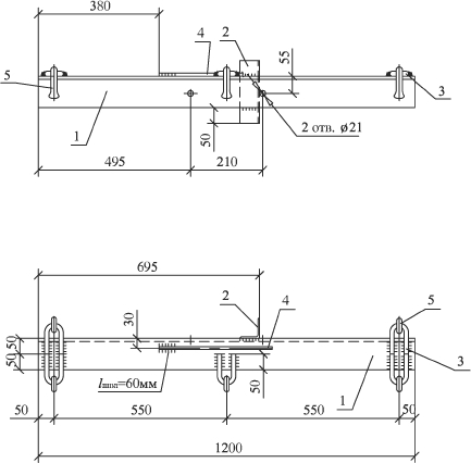
Вал привода РА
3 товара
Заземляющие проводники ЗП
3 товара
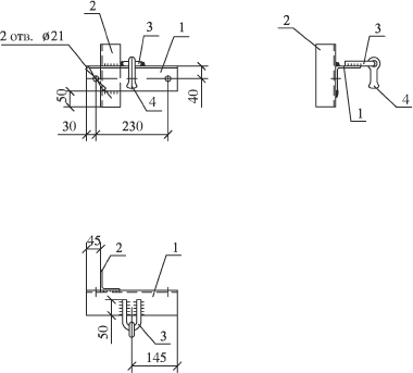
Кронштейны Р, РА, КМ, КС, М
15 товаров
Надставки высоковольтные ТС
6 товаров
Оголовья и накладки ОГ
23 товара
Оттяжки ОТ
4 товара
Стяжки Г
3 товара
Траверсы высоковольтные ТМ
57 товаров
Траверсы низковольтные ТН
20 товаров
Узлы крепления У
7 товаров
Хомуты Х
7 товаров
Штыри Ш, ШУ, ШВ
3 товара












