от
Нашли дешевле?
Наличие уточняйте у наших менеджеров
Цены
Траверса ТМ-70 (Zn)
Траверса ТМ-70 (эмаль)
Описание
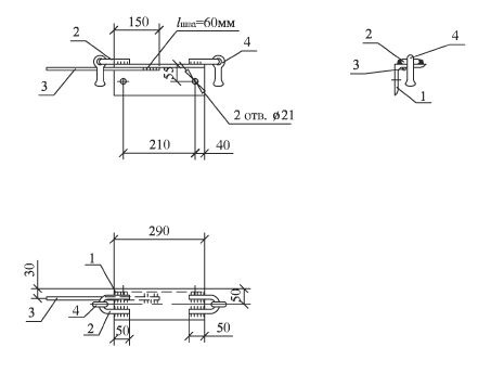
Траверсы ТМ-70 (проект 27.0002-35) применяются для осуществления крепления проводов к стойкам типа СВ высоковольтных ЛЭП 10 кВ.
Крепление траверсы ТМ-70 производится при помощи специальных хомутов. Хомут подбирается в зависимости от типа стойки. На стойки типа СВ105 крепление производится хомутом Х-1, а на стойки типа СВ110 - хомутом Х-42. Заказывать хомуты Х-1 и Х-42 необходимо отдельно, так как в комплект к траверсам они не входят.
Изготавливается траверса ТМ-70 из такого прочного и качественного материала как углеродистая сталь, а благодаря лаковому антикоррозийному покрытию (лак БТ-577) служит долго в любых погодных условиях.
Вес: 5 кг
Спецификация траверсы ТМ-70:
| ПОЗИЦИЯ | НАИМЕНОВАНИЕ ДЕТАЛИ | КОЛИЧЕСТВО | МАССА, КГ |
| 1 | Уголок 100х100х8 ГОСТ 8509-93 L=290 | 1 | 5 |
| 2 | Серьга С 7-16 | 1 | |
| 3 | Круг 16 ГОСТ 2590-88 L=254 | 2 | |
| 4 | Круг 30 ГОСТ 2590-88 L=260 | 1 |
