от
Нашли дешевле?
Наличие уточняйте у наших менеджеров
Цены
Накладка ОГ-10 (Zn)
Накладка ОГ-10 (эмаль)
Описание
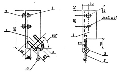
Накладка ОГ-10 используется на линиях электропередачи 6 кВ, 10 кВ, провода которых не обладают изоляционными свойствами. К накладке ОГ-10 приварена петля, оснащенная серьгой типа СРС-7-16.
Спецификация накладки ОГ-10:
| ПОЗИЦИЯ | НАИМЕНОВАНИЕ ДЕТАЛИ | КОЛИЧЕСТВО | МАССА, КГ |
| 1 | Уголок 100х100х8 ГОСТ8509-86 | 1 | 4,5 |
| 2 | Петля-круг 16 ГОСТ2590-71 | 1 | |
| 3 | Болт М20х40 ГОСТ 7798-70 | 2 | |
| 4 | Гайка М20 ГОСТ 5915-70 | 2 | |
| 5 | Серьга СРС-7-16 ГОСТ2725-78 | 1 |
