от 10 896 ₽
Нашли дешевле?
Наличие уточняйте у наших менеджеров
Цены
Траверса ТМ-68 (Zn)
17 977 ₽
/шт Траверса ТМ-68 (эмаль)
10 896 ₽
/шт
Описание
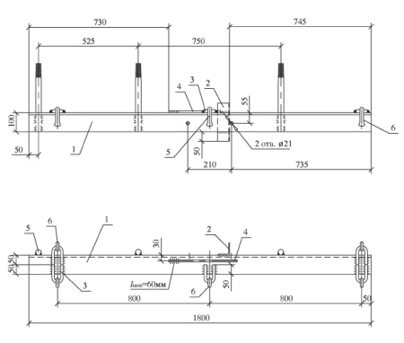
Траверсы ТМ-68 (проект 27.0002-33) используются для крепления проводов на стойки типа СВ при установке высоковольтных опор ЛЭП 10 кВ.
Траверсы ТМ-68 выполнены из качественного материала - углеродистой стали. Специальное покрытие битумным лаком БТ- 577 предохраняет изделие от коррозии.
Для крепления траверс на стойки необходимы хомуты марок Х-1 и Х-42 для стоек СВ-105 и СВ-110 соответственно. Поставка хомутов клиентам производится по отдельному заказу.
Вес: 33 кг
Спецификация траверсы ТМ-68:
| ПОЗИЦИЯ | НАИМЕНОВАНИЕ ДЕТАЛИ | КОЛИЧЕСТВО | МАССА, КГ |
| 1 | Уголок 100х100х8 ГОСТ 8509-93 L=1800 | 1 | 33 |
| 2 | Уголок 63х63х5 ГОСТ 8509-93 L=1800 | 1 | |
| 3 | Серьга С 7-16 | 5 | |
| 4 | Круг 16 ГОСТ 2590-88 L=254 | 5 | |
| 5 | Круг 10 ГОСТ 2590-88 L=360 | 1 | |
| 6 | Круг 30 ГОСТ 2590-88 L=360 | 3 |
