от 12 546 ₽
Нашли дешевле?
Наличие уточняйте у наших менеджеров
Цены
Траверса ТМ-19 (Zn)
20 699 ₽
/шт Траверса ТМ-19 (эмаль)
12 546 ₽
/шт
Описание
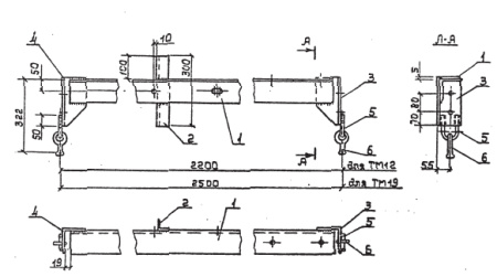
Необходимые крепления проводов на стойках СВ в период установки промежуточных опор высоковольтных ЛЭП осуществляются с применением траверсы ТМ-19 (проект3.407.1-143.8.12). Данное крепление к стойкам типа СВ105 невозможно без использования хомута серии Х-1, а к стойкам типа СВ110 без хомута серии Х-42. Крепежные хомуты заказываются и поставляются отдельно.
Траверсы ТМ-19 выполняются из качественной стали (углеродистой). Антикоррозийное покрытие - лаковое, образуется при нанесении на поверхность траверсы лака битумного БТ-577.
Габариты изделия: 2500х250х322мм.
Вес: 38 кг
Спецификация траверсы ТМ-19:
| ПОЗИЦИЯ | НАИМЕНОВАНИЕ ДЕТАЛИ | КОЛИЧЕСТВО | МАССА, КГ |
| 1 | Уголок 100х100х8 ГОСТ 8509--86 | 1 | 38 |
| 2 | Уголок 100х100х8 ГОСТ 8509--86 | 1 | |
| 3 | Уголок 50х50х5 ГОСТ 8509--86 | 1 | |
| 4 | Круг 16 ГОСТ 2590-71 | 2 | |
| 5 | Серьга СРС-7-17 ГОСТ 2725-78 | 2 | |
| 6 | Уголок 100х100х8 ГОСТ8509-86 | 1 |
