от 8 686 ₽
Нашли дешевле?
Наличие уточняйте у наших менеджеров
Цены
Траверса ТМ-14 (Zn)
14 329 ₽
/шт Траверса ТМ-14 (эмаль)
8 686 ₽
/шт
Описание
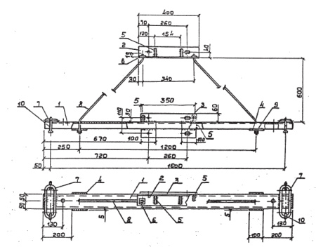
Траверсы ТМ-14 (проект 3.407.1-143.8.14) изготавливаются из прочного и качественного материала - углеродистой стали и помогают осуществить крепление провода, протянутого на опорах высоковольтных линий электропередачи 6 кВ -10 кВ. Для придания траверсе таких свойств как долговечность и стойкость к коррозии ее покрывают специальным лаком БТ-577.
К стойкам траверса крепится при помощи хомутов: к стойке СВ110 - хомутом Х-1, а к стойке СВ105 - хомутом Х-42. Требуемый хомут заказывается отдельно.
Габариты изделия: 1700х250х730мм.
Вес: 26.3 кг
Спецификация траверсы ТМ-14:
| ПОЗИЦИЯ | НАИМЕНОВАНИЕ ДЕТАЛИ | КОЛИЧЕСТВО | МАССА, КГ |
| 1 | Швеллер 10 | 1 | 26.3 |
| 2 | Уголок 80х80х6 | 1 | |
| 3 | Полоса 6х170 | 1 | |
| 4 | Полоса 5х100 | 2 | |
| 5 | Полоса 5х50 | 4 | |
| 6 | Полоса 5х50 | 2 | |
| 7 | Петля | 4 | |
| 8 | Круг 10 | 2 | |
| 9 | Гайка М10 | 4 | |
| 10 | Серьга СРС-7-16 | 4 |
