от 808 ₽
Нашли дешевле?
Наличие уточняйте у наших менеджеров
Цены
Траверса ТН-18 (Zn)
1 330 ₽
/шт Траверса ТН-18 (эмаль)
808 ₽
/шт
Описание
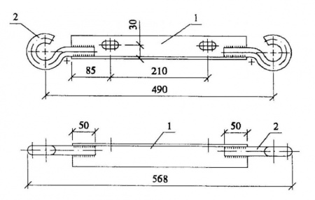
Траверсы ТН-18 производятся в соответствии с типовым проектом 21.0045-17.
Траверса ТН-18 предназначена для одинарного крепления прокладываемых проводов при установке опор линий воздушных низковольтных ЛЭП номинальным напряжением 0,4 кВ. Для крепления траверсы к опоре используются хомуты. Для различных видов опор разработаны разные хомуты. Например, хомут Х-10 применяется для крепления траверсы к опоре СВ95, а хомут Х-42 - для крепления к опоре СВ105. Заказ хомутов необходимого типа осуществляется отдельно от заказа траверсы.
Вес: 2.6 кг
Спецификация траверсы ТН-18:
|
НАИМЕНОВАНИЕ ДЕТАЛИ |
КОЛИЧЕСТВО |
МАССА, КГ |
||
| 1 |
Уголок 50х50х5 ГОСТ8509-86 L=1620 |
1 | 2.6 | ||
| 2 | Круг 20 ГОСТ 2590-88, L=233 | 1 |
