от 1 609 ₽
Нашли дешевле?
Наличие уточняйте у наших менеджеров
Цены
Стяжка Г-1 (Zn)
2 657 ₽
/шт Стяжка Г-1 (эмаль)
1 609 ₽
/шт
Описание
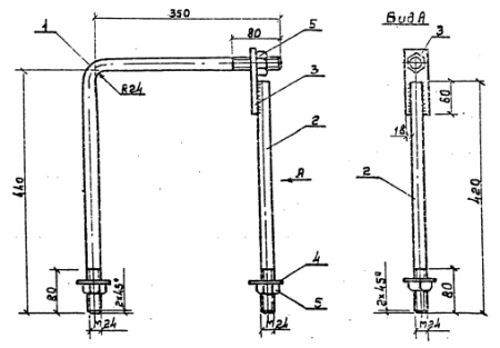
Стяжка Г-1 используется в процессе монтажа ЛЭП для установки анкерно-угловых опор линии на анкерных плитах .
Спецификация стяжки Г-1:
| ПОЗИЦИЯ | НАИМЕНОВАНИЕ ДЕТАЛИ | КОЛИЧЕСТВО | МАССА, КГ |
| 1 | Круг 24 ГОСТ2590-71 L=900 | 1 | 5,7 |
| 2 | Круг 24 ГОСТ2590-71 | 1 | |
| 3 | Полоса 10х80 ГОСТ103-76 L=645 | 1 | |
| 4 | Полоса 10х80 ГОСТ103-76 L=645 | 2 | |
| 5 | Гайка М24 ГОСТ 5915-70 | 3 |
