от
Нашли дешевле?
Наличие уточняйте у наших менеджеров
Цены
Накладка ОГ-6 (Zn)
Накладка ОГ-6 (эмаль)
Описание
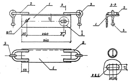
На линиях электропередачи 6 кВ - 10 кВ крепление подвесок натяжных, изолирующих, расположенных на стеклянных (ПС-70Е) и фарфоровых (ПФ-70А) изоляторах, выполняется накладками ОГ-6.
Накладка ОГ-6 имеет две петли, каждая из которых снабжена серьгой серии СРС-7-16.
Крепление накладки ОГ-6 производится к угловым анкерным опорам стоек из железобетона длиной не более 13м при помощи болта Б1. Поставка болта Б1 осуществляется отдельно.
Спецификация накладки ОГ-6:
| ПОЗИЦИЯ | НАИМЕНОВАНИЕ ДЕТАЛИ | КОЛИЧЕСТВО | МАССА, КГ |
| 1 | Уголок 90х90х7 ГОСТ8509-86 | 1 | 4,8 |
| 2 | Круг 16 ГОСТ2590-71 | 2 | |
| 3 | Серьга СРС-7-16 ГОСТ2725-16 | 2 |
