от 665 ₽
Нашли дешевле?
Наличие уточняйте у наших менеджеров
Цены
Кронштейн Р-5 (Zn)
1 094 ₽
/шт Кронштейн Р-5 (эмаль)
665 ₽
/шт
Описание
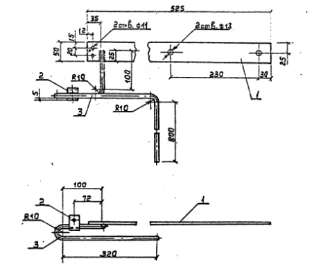
Кронштейн Р-5 выпускается согласно Типового проекта 3.407.1-143 "Опоры железобетонные ВЛ 10кВ".
Назначением кронштейна Р-5 является крепление вентильных разрядников РВО-6У1 или РВО-10У1 при их установке на опорах ЛЭП с неизолированными проводами. Крепление кронштейна к опоре производится с применением крепежного хомута типа Х7.
Спецификация кронштейна P-5:
| ПОЗИЦИЯ | НАИМЕНОВАНИЕ ДЕТАЛИ | КОЛИЧЕСТВО | МАССА, КГ |
| 1 |
Полоса 5х50 ГОСТ103-76 L=250 |
1 | 1,5 |
| 2 | Полоса 5х30 ГОСТ103-76 L=79 | 1 | |
| 3 | Круг 10 ГОСТ2590-71 L=1520 | 1 |
