от 501 ₽
Нашли дешевле?
Наличие уточняйте у наших менеджеров
Цены
Кронштейн Р-4 (Zn)
825 ₽
/шт Кронштейн Р-4 (эмаль)
501 ₽
/шт
Описание
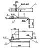
Производство кронштейна Р-4 осуществляется в соответствии с типовым проектом 3.407.1-143.
Кронштейн Р-4 используется на воздушных ЛЭП номинальынм напряжением 10 кВ и 6 кВ с неизолированными проводами для установки вентильных разрядников РВО-10У1 и РВО-6У1. Для осуществляения надежного крепления кронштейн приваривается к металлоконструкции опоры.
Спецификация кронштейна P-4:
| ПОЗИЦИЯ | НАИМЕНОВАНИЕ ДЕТАЛИ | КОЛИЧЕСТВО | МАССА, КГ |
| 1 |
Полоса 5х50 ГОСТ103-76 L=250 |
1 | 1,5 |
| 2 | Полоса 5х30 ГОСТ103-76 L=79 | 1 | |
| 3 | Круг 10 ГОСТ2590-71 L=1520 | 1 |
